用于汽车连接领域的单线密封件和盲堵

TE Connectivity (TE) 的广泛产品组合提供各种不同的密封件和盲堵,适用于为汽车连接器系统设计的众多线径和连接器型腔。它们可有效防止污染物进入连接器,从而实现安全可靠的连接。

Global

全球内部发展能力和覆盖范围。

180+

适用于各种线径和型腔的不同密封件和盲堵。

1 Stop

提供完善的密封连接器系统一站式服务。

单线密封件

TE Connectivity (TE) 的广泛产品组合提供 180 多种不同的密封件和盲堵,适用于为汽车连接器系统设计的各种线径和连接器型腔。它们可有效防止污染物进入连接器,从而实现安全可靠的连接。


得益于我们的全球制造足迹和集成供应链,TE 能够为完善的一站式密封连接器系统(端子、连接器、密封件和盲堵)提供本地到本地供应。此外,TE 还提供系列/垫子密封件、径向密封件,以满足汽车连接器要求。


单线密封件 (SWS) 有三个不同的接口,它们使用三唇配置,可创建冗余密封层。SWS 元件通常由液态硅橡胶制成,具有高机械阻力,并且可以在很宽的工作温度范围内工作。这种材料的硬度通常指定为 50-60 邵氏 A (ShA) 硬度,在提供汽车应用所需的必要压缩、抗撕裂性和耐用性方面是理想选择。

grey line

密封到线

SWS 会自动放置在外径在明确定义的范围内的导线上。该线径与 SWS 的孔尺寸相关联,并且直径较小,可产生创建密封所需的几何干涉。通常采用具有两到三个唇口的密封几何设计,以提供对电缆的点分布密封压力。

 

这种几何设计具有三个主要优点:

  • 由于可能存在电缆形状缺陷,多密封接口比连续密封接口更好。
  • 即使导线被弯曲,内唇轮廓也能确保良好的密封性。
  • 流体压力从第一唇下降到第二唇。因此,可以避免液体渗透。

密封到触点

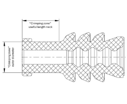
密封件压接到触点上。压接区的外径", 端子压接到硅胶的颈部的有用长度,以及是否存在套环(由设计定义)是确保端子压线筒闭合并保持 SWS 而不会在接口上产生切口的重要参数。压接质量是确保正确密封到触点接口的基础。

密封到线和触点
密封到线/密封到触点
密封到触点
密封到触点详情

密封到型腔

密封触点插入型腔中。密封件的外径和型腔直径之间的差异会产生橡胶元件的径向压缩,从而在接口处产生密封压力。这种干涉会在电线接口上产生额外的闭合压力,从而增强对电缆的密封程度。

grey line

盲堵

TE 盲堵可用于密封不使用端子的单个连接器型腔,还可用于母端或公端外壳,其中一些型腔与竞争对手的端子兼容。几何轮廓与单线密封件完全密封,不同之处在于它没有用于电线的内孔。

橡胶材料的选择往往限制在 ShA 硬度范围一般在 50 到 60 之间的硅橡胶;橡胶原料中的润滑剂通常不会增加密封保持件在型腔中的保持力,因为这种橡胶元件没有任何机械约束。

优势

可靠、安全的密封连接器解决方案提供商

  • 广泛、完整的产品组合,为汽车应用提供一站式解决方案。
  • 提高电气连接领域的性能、安全性和使用寿命。
  • IP67 防水等级。
  • 型腔与一些竞争对手的端子系统兼容。
  • 全球制造足迹和集成供应链。
  • 线束自动化就绪。
  • 支持 48V 架构。
     

单线密封件 (SWS)

  • 唇形配置可创建多层冗余密封。
  • 硅橡胶在多种工作温度下均可提供很高的机械阻力。
  • 材料硬度指定为 50-60 邵氏 A (ShA) 硬度,可提供所需的出色压缩、抗撕裂性和耐用性。
  • 对通过密封件的线材进行润滑,以减少插入型腔时的损坏。


盲堵

  • 提供多种硅橡胶材料选择,ShA 硬度在 50-60 之间。
  • 在型腔中保持高水平的密封性。
grey line